Încă din mai, anul trecut, îți spuneam că analiștii preconizează lansarea unui telefon Apple pliabil în 2023. Însă faptul că nici până acum nu s-au aflat prea multe date concrete despre acest viitor gadget ne face să credem că mai avem de așteptat până să-l vedem pe piață. Asta pentru că, așa cum probabil știi deja, Apple încearcă să țină departe de ochii publicului informații referitoare la modele viitoare de telefoane.
Chiar și așa, zvonurile despre cum ar putea arăta, cât va costa sau ce specificații va avea telefonul pliabil de la Apple au început deja să apară, însă rămân doar la nivelul de speculații. Am strâns mai jos pentru tine cele mai importante informații despre iPhone Flip sau iPhone Fold, telefonul Apple care va aduce compania americană în rând cu ceilalți producători de telefoane, precum Samsung, Huawei, Xiaomi, Oppo, Honor sau Motorola, care sunt deja experți în fabricarea acestor dispozitive pliabile.
Iată ce știm până acum.

iPhone pliabil - data lansării și preț
Din păcate, nimeni nu știe data exactă când va apărea dispozitivul, deși zvonurile inițiale spuneau că ne-am fi putut aștepta ca iPhone Flip sau iPhone Fold să se fi lansat odată cu seria iPhone 13.
Jon Prosser, binecunoscutul leaker, vorbește acum despre un prototip după care Apple s-ar putea orienta pentru a crea viitorul telefon pliabil. Însă tot el susține că gadgetul n-ar avea, încă, un design final, așa că e posibil să nu fie gata de lansare nici măcar odată cu seria iPhone 14.
De asemenea, Prosser susține că telefonul pliabil de la Apple e posibil să se apropie ca design cu iPhone 11. „Prototipul actual are două panouri de afișare, separate de o balama. Are margini rotunde, din oțel inoxidabil, la fel ca designul actual al iPhone 11. Nu are crestătură (notch), ci doar o „frunte” mică pe afișajul exterior, care găzduiește Face ID”, scria leakerul anul trecut pe contul său de Twitter.
Nici despre prețul unui telefon pliabil de la Apple nu se cunosc prea multe informații. Însă dacă ar fi să facem o estimare a acestuia, folosindu-ne de prețul celorlalte telefoane pliabile de pe piață, cu siguranță ar depăși suma de 2.000 de dolari.
iPhone pliabil - design
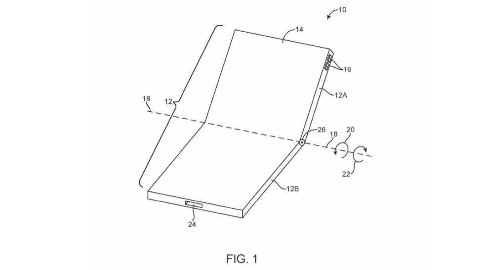
Chiar dacă singurul lucru pe care ne putem baza în acest moment pentru a putea vorbi despre designul unui iPhone pliabil este o schiță, pe care o poți observa mai jos, e foarte posibil să nu greșim când spunem că telefonul pliabil va semăna destul de mult cu Samsung Galaxy Z Flip sau cu Motorola Razr 2020.

Se pare că iPhone Flip sau iPhone Fold va putea afișa notificările pe partea mai mare a ecranului pliabil. Display-ul ar urma să fie compus din două bucăți, una de 7,3 inch și una de 7,6 inch, așa cum poți vedea în imaginea de mai jos. De asemenea, viitorul telefon ar putea veni însoțit de un Apple Pencil.

Telefonul pliabil Apple ar putea avea, de asemenea, un strat de protecție aplicat deasupra ecranului, care poate apăra dispozitivul împotriva fisurilor și ar putea umple microfisurile preexistente în ecran, pentru că Apple are deja un brevet obținut pentru această tehnologie.
Dat fiind faptul că display-ul viitorului iPhone pliabil va fi unul generos, ne așteptăm ca bateria acestui gadget să fie mult mai puternică decât cele cu care Apple ne-a obișnuit până acum. De asemenea, n-ar strica nici un spațiu de stocare ceva mai mare decât cel disponibil pe telefoanele Apple pe care le-am văzut lansate până acum.
Rămâi conectat la informațiile pe care le publicăm pe blogul Flip.ro, pentru că facem update constant la știrile despre telefoane, pentru ca tu să fii la curent cu cele mai proaspete noutăți din domeniu.




